SKU: GD-24

Bronze Pressure Reducing Valve for Fluid

From $497.20

Inc GST
In Stock
Make an Enquiry
  • Integral strainer to prevent debris
  • Small & compact
  • Superior performance & durability
  • Easy installtion & operation
Application Cold & hot water
Type Direct-acting
Inlet Pressure 2 to 16 Bar
Reduced Pressure 0.5 to 5.5 Bar
Connection BSPT (ISO7.1 Rc)
Temperature 0 to 80°C
Body Bronze
Valve & Seat Brass & stainless steel
Valve Disc Urethane rubber
Diaphragm NBR

Flow Rate capacity for Water (L/min)

DP (bar) Connection Size - mm
15 20 25 32 40 50
0.5 15 20 30 40 70 100
0.7 18 24 36 48 84 120
1 22 29 44 59 103 147
1.7 30* 38 57 76 132 189
3.4 40 53* 80 107 187 268
5.2 49 66 98* 131 231* 328
6.9 57 76 114 151* 265 378*
8.6 63 85 127 169 296 423
10.3 70 93 139 185 325 464
12 75 100 150 200 351 501
13.8 80 107 161 214 375 535

* At values greater than this, flow rate in piping will exceed recommended flow velocity of 1 - 3 m/s. 

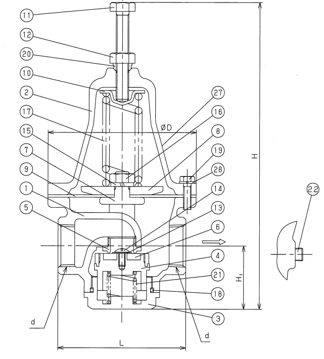
Bronze Pressure Reducing Valve Dimensions

Size d L H1 H D Kg
15 1/2" BSPT 80 41.5 193 90 1.8
20 3/4" BSPT 90 45 210 100 2.4
25 1" BSPT 100 50 230 116 3.3
32 1 1/4" BSPT 120 60 265 120 4.7
40 1 1/2" BSPT 150 62 315 165 8.2
50 2" BSPT 185 73 365 190 14.3

All dimensions in mm unless shown otherwise. 

Bronze Pressure Reducing Valve Construction

Number Part Material Grade
1 Body Bronze CAC406
2 Spring Chamber Cast Iron FC200
3 Cap Brass C3604
4 Valve Brass C3604
5 Valve Seat Stainless Steel SUS304
6 Disc Urethane Rubber  
7 Suspensin Metal Bronze CAC406
8 Diaphragm Shell Cast Iron or Carbon Steel FC200 or SPC
9 Diaphragm NBR NBR
10 Spring Plate Carbon Steel SPC
11 Adjusting Screw Rolled Steel SS400
12 Lock Nut Rolled Steel SS400
Number Part Material Grade
13 Washer Stainless Steel SUS304
14 Set Screw Stainless Steel SUS304
15 Spring Lock Washer Alloy Steel SWRH
16 Nut Brass C3604
17 Spring Alloy Steel SWOSC
18 Ring NBR NBR
19 Bolt Rolled Steel SS400
20 Sealed Nut Polypropylene P.P
21 Spring Stainless Steel SUS304
22 Plug ( 1/8" ) Stainless Steel SUS304
27 Label Polyester  
28 Spring Washer Alloy Steel SWRH

 

Size 1/2" to 2" BSPT
Body Bronze
Application Water
Inlet Pressure Range 2 to 16 Bar
Outlet Pressure Range 0.5 to 5.5 BAR
Temperature 0°C to 80°C

DATA SHEET

Others Also Bought

.
.