SKU: BLSHPDA

High Pressure Double Acting Ball Valve

From $302.50

Inc GST
In Stock
Make an Enquiry
  • Two way High Pressure Double Acting Pneumatic Stainless Steel Ball Valve
  • Delrin seats
  • Anodised Aluminium Actuator, adjustable stops, namur interface & visual indicator
  • Tested to API598
Model Size(BSP) Orifice Size (mm) Actuator Media Pressure Media Temperature Actuator Pressure Actuator Port Size
BLSHP2B-DA-D 1/4 8 DA50 0 to 200 BAR 40°C @ 200 BAR 6 to 8 BAR 1/8"
BLSHP3B-DA-D 3/8 10 DA50 0 to 200 BAR 40°C @ 200 BAR 6 to 8 BAR 1/8"
BLSHP4B-DA-D 1/2 12 DA50 0 to 200 BAR 40°C @ 200 BAR 6 to 8 BAR 1/8"
BLSHP5B-DA-D 3/4 17 DA63 0 to 200 BAR 40°C @ 200 BAR 6 to 8 BAR 1/8"
BLSHP6B-DA-D 1 22 DA63 0 to 200 BAR 40°C @ 200 BAR 6 to 8 BAR 1/8"
BLSHP8B-DA-D 1 ½ 35 DA88 0 to 200 BAR 40°C @ 200 BAR 6 to 8 BAR 1/8"
BLSHP9B-DA-D 2 35 DA88 0 to 200 BAR 40°C @ 200 BAR 6 to 8 BAR 1/8"

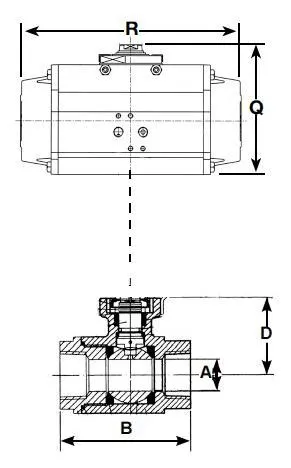
High Pressure Double Acting Stainless Steel Ball Valve

Size A B D Actuator Q R
1/4 9.7 75 41 DA50 90 140
3/8 9.7 75 41 DA50 90 140
1/2 12.7 75 41 DA50 90 140
3/4 17.5 81 43.8 DA63 100 162
1 22.1 91 53.5 DA63 100 162
1 ½ 34.7 121 75.2 DA88 129 238
2 34.7 145 75.2 DA88 129 238

High Pressure Double Acting Stainless Steel Ball Valve

Number Part Material
1 Visual Indicator UV Stabilized Thermoplastic
2 Stops Stainless Steel
3 Inlet Ports/Namur Interface Anodised Aluminium
4 Drive 316 Stainless Steel
5 Chevron Seals Delrin
6 Backing O-Ring Viton
7 Thrust Washer Delrin
8 End Piece 316 Stainless Steel
9 Seat Delrin
10 Ball 316 Stainless Steel
11 Body 316 Stainless Steel

Size 1/4" to 2" BSP
Body 316 Stainless Steel
Seat Delrin
Pressure  200 BAR
Temperature Ambient
Actuation Double Acting Pneumatic

DATA SHEET
.
.