SKU: PCF8

Class 800 Forged Steel Piston Check Valve

From $60.50

Inc GST
In Stock
Make an Enquiry
  • A105 Forges Steel Piston Check Valve
  • Metal to Metal Seat
  • Installed in any orientation
  • Tested to API598
Model Size (NPT) Design Pressure Media Temperature Weight (kg)
PCF8-04 1/2" 13.62 MPa @ -29°C ~ 35°C 454°C @ 5.5 MPa 1.5
PCF8-05 3/4" 1.7
PCF8-06 1" 3.3
PCF8-07 1 1/4" 4.2
PCF8-08 1 1/2" 4.5
PCF8-09 2" 8.5

Class 800 Forged Steel Piston Check Valve

Model Size (NPT) L H d
PCF8-04 1/2" 79 61 9
PCF8-05 3/4" 92 61 13
PCF8-06 1" 111 78 17.5
PCF8-07 1 1/4" 120 84 23
PCF8-08 1 1/2" 152 84 30
PCF8-09 2" 172 118 35

All sizes are in mm unless shown otherwise. 

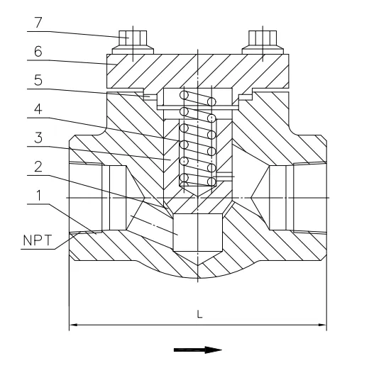
Class 800 Forged Steel Piston Check Valve Construction

Number Part Name Material
1 Body ASTM A105
2 Seat Deposited 13Cr
3 Disc ASTM A276-420
4 Spring SS304
5 Gasket Flexible Graphite/304
6 Bonnet ASTM A105
7 Bonnet Bolt ASTM A193 Gr.B7

Size 1/2" to 2" NPT
Body Forged Steel
Seat Deposited 13Cr
Pressure Range 0 to 136 BAR
Temperature -20°C to 450°C

DATA SHEET

Others Also Bought

.
.